- +86 0512 6547 9914
- SuZhou, 215122 China, WeiXin Rd. 60 Block 38, Rm №619
- gektorius
- eko-rus@inbox.ru
EKO-RUS
ПРОМЫШЛЕННОЕ НАПРАВЛЕНИЕ
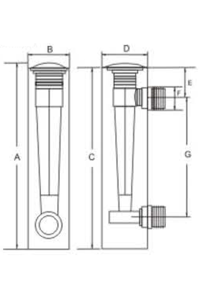
РОТАМЕТРЫ
Ротаметры прибор для определения объёмного расхода воды в единицу времени.
Преимуществами наших ротаметров является:
1. Высокая точность
2. Разнообразние моделей
3. Надежность
Ротаметры панельного типа



Ротаметры проточного типа


